The splitting force and moment of the specified partition of a free-floating structure can be calculated in Aqwa, provided that a hydrodynamic diffraction and radiation analysis has already been carried out.
The mass distribution over the floating structure is required in this calculation. It should be noted that the total mass and the resolved center of gravity based on this mass distribution must be equal to that calculated by the hydrodynamic diffraction and radiation analysis. If this condition is not satisfied, non-zero residual forces may cause erroneous results in the splitting forces.
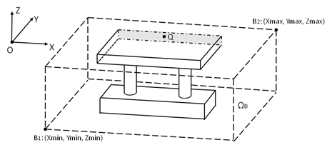
The specified structure partition is defined within a virtual
rectangular box with the lowest vertex
and the highest vertex
, as shown in Figure 14.3: Structure Partition and Reference Point for Splitting Force
Calculation. The edges of this box are aligned
with the fixed reference axes. The output splitting force and moment
consist of the force and moment acting on the structure partition
enclosed by this virtual box
. The moment is determined about a reference point
defined in the fixed reference
axes.
The external hydrodynamic force and moment with respect to the
reference point are
(14–13) |
where is the wave frequency,
is the wetted surface partition of the floating structure enclosed by the
virtual box
,
is the summation of the hydrostatic and total hydrodynamic pressures
(consisting of the incident wave, diffraction wave, radiation wave, and the hydrostatic varying
pressures), and
is the normal vector of the wetted hull surface pointing towards the fluid
field.
The gravitational force and moment with respect to the reference
point are represented as
(14–14) |
where is the rotational motion response, and
is the structure mass at the location
.
The inertia force and moment with respect to the reference point are
(14–15) |
where is the motion response
at the location
.
The summations of all of the corresponding components in Equation 14–13 through Equation 14–15 are the splitting force and moment
about the reference point for the specified structure
partition shown in Figure 14.3: Structure Partition and Reference Point for Splitting Force
Calculation.
